menu-icon
anue logo
鉅亨傳承學院鉅亨號鉅亨買幣
search icon

科技

Google Glass接招!蘋果取得新專利 發展可穿戴顯示裝置

鉅亨網劉祥航 綜合報導

蘋果取得新專利
蘋果取得新專利

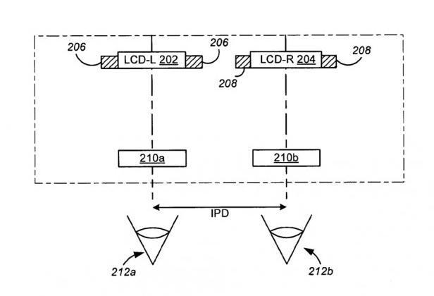
據國外媒體報導,蘋果公司 (Apple, AAPL-US) 周二取得一項新的專利技術,這項在 2006 年提出申請,名為「頭戴顯示器的周邊處理」,未來若據此發展產品,可能會推出與 Google Glass 相近的產品,在市場上相互競爭。


據《wired》網站報導,蘋果所申請這項專利,主要利用可觀看的顯示設備,將圖像投射到使用者的眼睛,並用 HMD (head-mounted display),而不是 HUD (head-up display) 來說明穿戴方式。根據專利描述,會使用在這裡的螢幕,主要是嵌在頭盔或眼鏡裝置的 小型 CRT、LCD 或 OLED 螢幕。

業界人士指出,蘋果每年都提大量的專利申請,但在取得專利之後,不會急於在市場推出相關產品,因此,難以就此推斷產品研發動向。不過這至少表明,蘋果仍有開發類似產品的企圖心。

由專利描述,蘋果此項技術將使用 1-2 個顯示器,以 3D 圖像投射到使用者眼睛,達身歷其境的效果。蘋果並舉例指出,這類技術將有助於外科手術、軍事及消防人員、與科學家和工程師的實務操作。

相較之下,Google (GOOG-US) 在 6 月取得的專利,則是以眼睛引導的眼鏡科技,是一種穿戴式的顯示技術,Google 打算在 2013 年早期生產原型產品,計畫 2014 年進入量產。而蘋果這項專利顯得更為廣泛,包括各式頭戴式的顯示裝置。


文章標籤

section icon

鉅亨講座

看更多
  • 講座
  • 公告

    Empty
    Empty