蘋果科幻「電腦筆」 專利內容曝光!有觸控螢幕、可收發郵件
鉅亨網楊琇羽 綜合報導
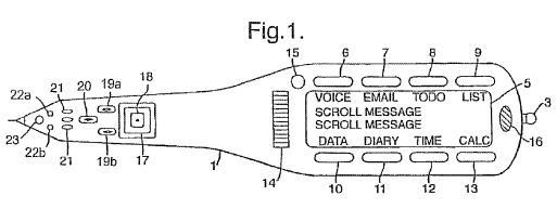
猶如科幻電影裏面的高科技電腦筆專利由蘋果取得。(圖片翻攝自《CNET》網站)
《CNET》網站報導,美國專利商標管理局 26 日授予蘋果(AAPL-US)一項無線裝置的專利,它的造型像筆,但內建一個小螢幕,能夠顯示電子郵件、文字簡訊、與裝置內的聲音檔。這支造型像筆的裝置,還配備無線/GPS 接收技術,讓用戶可進行無線通訊。
這支暱稱為「電腦筆」的裝置,它還配備獨特的感測器,能夠進行手寫辨識並加以儲存,也具有聲音/文字檔轉換的功能。
該裝置還配備麥克風與喇叭、觸控螢幕、以及可充電電池。它擁有電腦的功能,也可以是一支無線電話。
另外,這項裝置配備無線收發器,能夠接收與傳送文字簡訊、電郵、聲音等資料。而 GPS 接收器,能夠定位使用者所在位置。
據報導,蘋果早於 1998 年就申請這項專利,並在 2011 年 9 月取得專利,只是後來蘋果在無線傳輸與通訊上做了補充說明,並於近日獲得美國專利商標管理當局的同意。
- 美股強,台股更悍!主動選股力求超額報酬!
- 掌握全球財經資訊點我下載APP
文章標籤
延伸閱讀
- AI很熱、帳單更痛!記憶體漲不停 蘋果與硬體廠獲利承壓
- 高端玻璃纖維布:AI算力革命背後「隱形冠軍」 輝達、蘋果等科技巨頭爭搶
- 摩根大通公布財報後大跌 因承接Apple Card獲利下滑
- 蘋果谷歌聯姻強攻AI!郭明錤:兩大原因迫使蘋果這麼做
- 講座
- 公告
上一篇
下一篇