menu-icon
anue logo
鉅亨傳承學院鉅亨號鉅亨買幣
search icon

科技

蘋果再拿48項專利 所有產品可望納入防護罩 內嵌觸控、智慧自行車在列

鉅亨網編譯呂燕智 綜合外電

图片说明
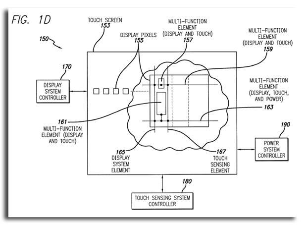
蘋果內嵌式觸控螢幕專利示意圖。(圖:appleinsider.com)

科技媒體《AppleInsider》報導,美國專利商標局周二(29日)公佈產業龍頭蘋果(AAPL-US)最新取得的 48 項專利,其中包含無線感應式充電、自行車與行動裝置整合技術,以及得以讓蘋果行動裝置極度輕薄的觸控螢幕技術。


《AppleInsider》指出,這批新專利涉及的零件與設計要點,幾乎已經將所有蘋果產品都囊括在內。

感應式充電

其中無線感應式充電是這幾年相當熱門的話題,蘋果更在 2012 年中就提出專利申請;內容描述為,利用印刷線圈的電磁感應在不直接連線的狀態下為裝置充電。

市場先前就傳出,蘋果正在開發感應式充電襯墊,用戶只要將設備置於上頭,即可充電並進行同步;當時甚至有少數人,期望能在去年第 3 季 iPhone 5 亮相時同步見到感應式充電。

雖然後來預期落空,但蘋果仍在去年 9 月進一步的專利申請中描述,已確定在 1 公尺範圍內進行無線充電是可行的。

內嵌式觸控螢幕

蘋果這回也取得了「將顯示器像素層與觸控感應線路整合的設計專利」,堪稱 2012 年 7 月取得的觸控螢幕專利的延續;蘋果也已將此技術套用於最新智慧手機 iPhone 5,才能製造出厚度僅 7.6 mm 的超薄旗艦機種。

[NT:PAGE=$]

图片说明
蘋果擘畫的與行動裝置整合的智慧自行車。(圖:appleinsider.com)

智慧自行車

這項設計專利允許裝置透過感應器與自行車連結,不但能夠顯示騎乘狀態,甚至還能在組隊騎乘時發揮訊息交換的作用。

雖然蘋果早在 2010 年就提出這項專利申請,但直到目前仍未具體呈現在任何蘋果商品中;但也別失望,因為目前透過異業結盟的方式,Nike 部分商品已能與 iPod 或 iPhone 連結,提供新的使用經驗。

除上述三大亮點外,這批新取得專利中還包括行動付費確認、波束天線系統、裝置冷卻機制等;去年蘋果一共取得 1135 項專利,全球排名第 21。


section icon

鉅亨講座

看更多
  • 講座
  • 公告

    Empty
    Empty